Ersatzteile rund um deine Ape und deinen Porter

Motor Kühler - Ventilator - Ape TM 422ccm 4T LC 2013- ZAPT1000000001001

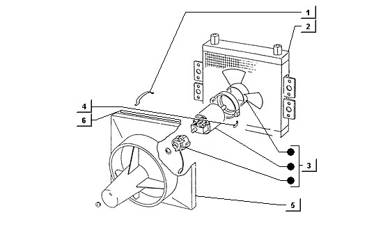
1 245306
Federklammer
245306
7,48 € *

Sofort Verfügbar, Versand innerhalb 1-3 Werktagen

7,48 € *

Sofort Verfügbar, Versand innerhalb 1-3 Werktagen

4 245310
Feder
245310
5,76 € *

Sofort Verfügbar, Versand innerhalb 1-3 Werktagen

5,76 € *

Sofort Verfügbar, Versand innerhalb 1-3 Werktagen

5
0,00 € *

Sofort Verfügbar, Versand innerhalb 1-3 Werktagen

0,00 € *

Sofort Verfügbar, Versand innerhalb 1-3 Werktagen